Spoiler - Toyota (76852-17030)

1991-1992 Toyota MR2 - 7685217030

Spoiler - Toyota (76852-17030)

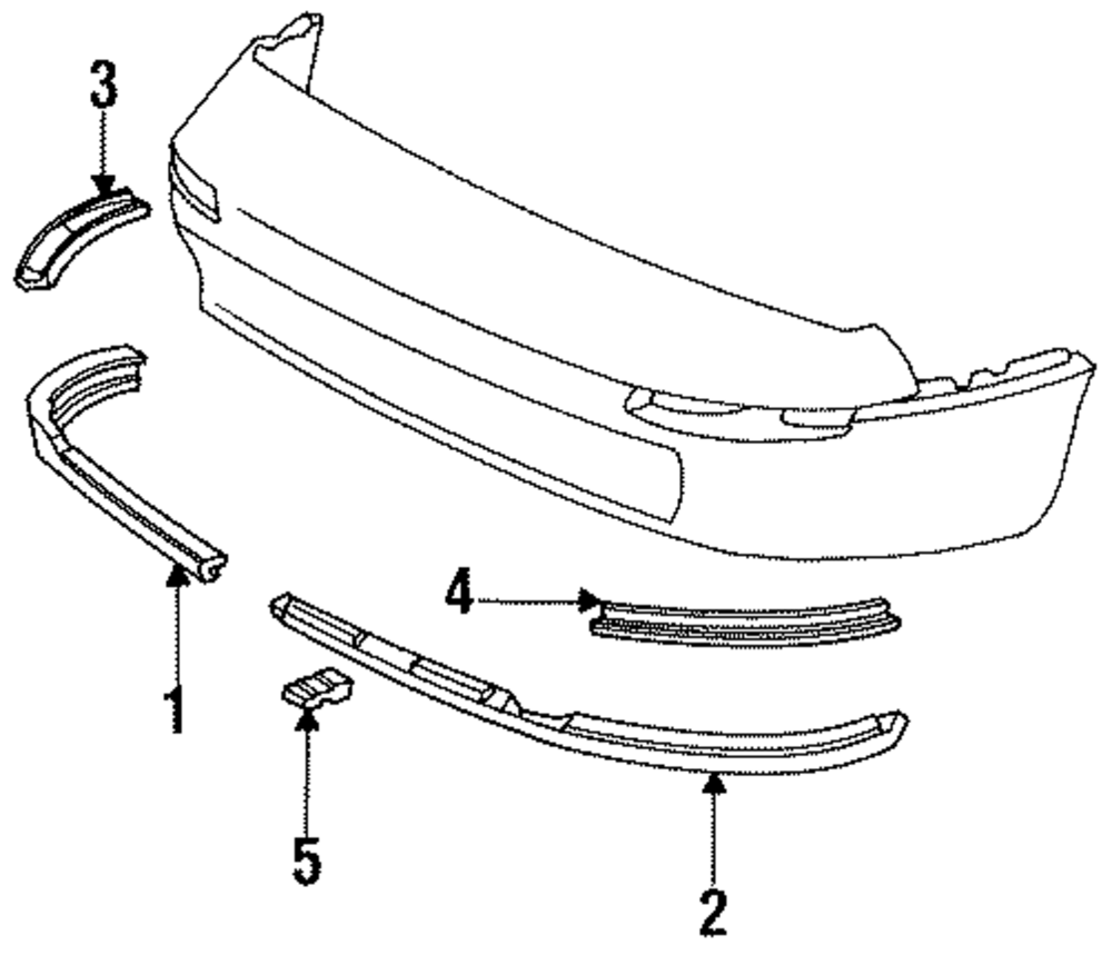
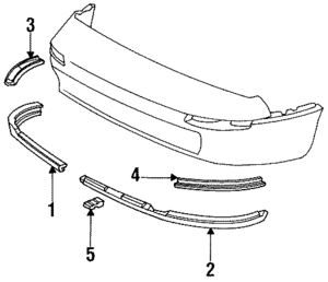
Part can be found as reference #2 in illustration

Spoiler - Toyota (76852-17030)

1991-1992 Toyota MR2 - 7685217030

Genuine Toyota & Scion Parts
Toyota Parts Scion Parts
  • Toyota
  • 76852-17030

Details

  • Brand:

    Toyota Parts Scion Parts

  • SKU:

    76852-17030

  • Positions: Left
  • Other Names:

    Cover Front Spoiler L

  • Description:

    1991-92.

OR

Discontinued Product

No Longer Available For Purchase

Packages shipped within the U.S. and Puerto Rico will automatically be protected from any loss, damage, and theft. Learn More

Manufacturer Warranty Minimum of 12 Months
Guaranteed Fitment Always the correct parts
Shop with Confidence Your information is safe
In-House Experts We know our products
Genuine Toyota & Scion Parts
Toyota Parts Scion Parts
  • Toyota
  • 76852-17030

Details

  • Brand:

    Toyota Parts Scion Parts

  • SKU:

    76852-17030

  • Positions: Left
  • Other Names:

    Cover Front Spoiler L

  • Description:

    1991-92.

Vehicle Fitment

Vehicle Fitment
Year Make Model Body & Trim Engine & Transmission
( more fitments)
No fitment data available

Parts North Park Toyota

North Park Toyota only deals in OEM parts and accessories. When you order your Spoiler (7685217030) for your Toyota vehicle you will receive a brand new, genuine part direct from our warehouse or the factory. With our VIN verification system you can also be sure your Spoiler will perfectly fit your 1991-1992 Toyota MR2 vehicle. All our parts are discounted up to 35% off MSRP and backed by a manufacturer's warranty.

If you need to shop for additional parts, select what make you drive below. When you select your make, you can then select your model and shop from its exclusive OEM parts catalog.

| Toyota Models | Scion Models |